有源RFID系统技术及数据的可靠传输
介绍
在现代生活中,电子技术越来越多地用于完成信息查询。常见技术主要是条形码技术和RFID(射频识别)技术。条形码技术被广泛使用,但其局限性也非常突出。例如,条形码标签的内容无法修改,条形码标签必须干净且无磨损,读者在阅读/编写条形码时应保持适当的角度,并且必须在阅读器和条形码之间看到读取器。 RFID是射频识别的缩写。这是一种非接触式自动识别技术。它使用无线电技术来建立读者和电子标签之间的通信,以实现非接触信息传输,并通过传输信息实现识别的目的。 。现在,RFID技术已被广泛用于数据收集和处理,例如生产,物流,运输,医疗和跟踪。 RFID技术的优点更为突出,例如:可以修改标签信息,可以在恶劣的环境中读取标签信息,并且可以同时处理多个标签。
根据实施方法,RFID技术可以分为被动RFID技术和主动RF1D技术。被动RFLD技术的研究和应用相对成熟。通过转换收到的读者和作家发送的电磁波,可以获得系统中电子标签工作所需的所有电源。读者和作家的发射功率通常很高。主动RFID技术系统中的电子标签具有电池,可以为所有设备提供动力;读者和作家的发射功率要求很低,与前者相比,有效的阅读距离也会增加,这在跟踪和识别高价值商品时非常重要。有用。
l主动RFID系统的设计
1.1系统结构
主动RFID系统由三个部分组成:主动电子标签(标签),读取器(读取器)和计算机;主动电子标签由耦合元件和芯片组成,每个标签都有一个唯一的电子代码(EPC),并存储。以商定格式的电子数据;读者阅读电子标签信息的设备可以设计为手持或固定;计算机(上计算机)用于数据管理和数据处理,其系统结构如图1所示。

在实际应用中,读者和作者发送一个特定频率的射频信号,将电子标签连接到对象表面上以识别以接收射频信号,并执行相应的动作。通常,读者和作家连接到计算机,读者和作家读取和解码电子标签的信息,并发送到计算机以进行下一步处理,从而实现了自动识别的目的身体。
1.2硬件设计
根据不同的标准,RFID系统可以分为不同的类型。根据RFID系统使用的工作频率,可以分为四类:低频(LF,30〜300 kHz),高频(HF,3〜30 MHz),超高频率(UHF,300〜 968 MHz)和微波炉(UWF,2.4〜5.8 GHz)。根据文献和分析以及对不同频段中RFID系统的优势和缺点的比较,结合项目的要求,它可以自动监视50 m范围内的标签,并读取和写入数据,并选择使用RFID系统,并选择使用RFID系统,并使用RFID系统使用具有2.4 GHz行为研究的工作频率的微波带。 2.4 GHz频率的衰减很小,传输距离很长。快速数据传输,高数据吞吐量和强大的多目标识别功能。同时,2.4 GHz ISM频带宽度超过83 MHz,并且具有125个通道,可以满足多频率和频率跳跃的需求,并提高无线通信的抗干扰能力。
主动电子标签和读者和作家主芯片是德州仪器CC2510。该设备包括高性能,低功率8051微控制器(MCU)和UHF RF收发器,集成了32 kb的系统内部可编程闪光和嵌入4 kB SRAM,并具有功率放大器(PA),低噪声放大器(LNA)(LNA)(LNA)(LNA)(LNA) ,调制解调器(调制解调器)和其他功能,QLP软件包,小尺寸(6 mm×6 mm),支持流行的频率跳跃技术,程序控制数据传输速率,并且可以快速达到500 kb /s的数据传输速率。在系统中使用CC2510具有少量功耗,低成本,简单可靠的外围电路。此外,CC2510可以设置的频率跳跃通信方法,传输功率和存储程序可以实现频率更改,读写距离控制以及适用于多个安全级别的各种安全协议。
主动电子标签由CC2510无线收发器以及接收和控制模块和天线组成。通过电磁波与读者和作家进行数据交换。读者和作者由CC2510无线收发器以及接收器和控制模块,天线,USB接口转换模块和接口电路组成。读者和作家通过USB接口连接到上计算机,以接收由活动电子标签发送的数据。
1.3软件设计
软件在整个活动RFID系统中起控制作用,并且是协调硬件各个部分的灵魂。它主要涉及PC机器的人机接口和RFID系统软件的设计,PC机器和读取器的通信软件的设计以及读取器和作者RF的通信软件以及Active Election Tag RF。
PC软件主要管理RFID系统数据库,并使用基于C的编程。该数据库使用SQL Setver 2005。PC通过接口电路操作读取器和作者。该部分是使用VB编译的。读者和标签通信之间的数据与标准C语言和组装混合汇编。与PC和微控制器中的PC和微控制器类似的通信软件设计的描述很多,因此我不会在此处重复它们。本文着重于读者和主动电子标签之间可靠通信的设计。
2可靠的沟通研究
在主动RFID系统中,可靠的通信是最重要的链接,它几乎影响了整个系统的性能。在这里,我们从四个方面研究可靠的数据通信:框架识别替换算法,数据框架结构,反碰撞处理和重新推出机制。
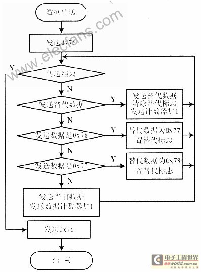
2.1框架识别替换算法
在通信协议中,OX76(0x代表十六进制计数)用作框架标识符。为了确保框架标识符的唯一性,框架含量中的OX76使用替代算法,因此OX76不再出现在帧含量中,该框架含量不再出现,该算法解决了接收器处的同步问题并提高了接收的可靠性。如果发送的数据为0x76,则更换两个字节OX77和OX77。如果发送的数据为OX77,则更换两个字节OX77和0x78。算法流如图2所示。

2.2数据框架结构
读者和作家以读/写作为标签。电子标签设备具有内置的MCU和Flash,可以存储相对复杂的程序并通过程序控制标签工作。为了提高主动RFID系统结构的简单性和效率,指令格式已标准化,并且数据框架格式的设计也是简单且固定的规格开yun体育app入口登录,以提高通信效率。
在通信过程中,数据的框架格式如下:
引导区域包括引言和同步单词。在通道特征良好的情况下,可以设置识别速度,16位引入和16位同步单词。 CRC算法验证了验证区域,并且CC2510硬件会自动添加指导区域和验证区域,并在接收时自动删除。在此设计中,地址区域用于识别电子标签,并使用命令区域中的命令来完成数据查询功能或完成标签信息的生成。数据区用于数据有效载荷存储。在发送模式下,地址区域开元棋官方正版下载,命令区域和数据区域的数据将发送到RAM中的缓存区域,以进行相应的包装操作。 CC2510添加了一个4字节介绍和同步词,添加了CRC验证并将其发送出去。在接收模式下,数据包处理支持分解数据包,即首先执行同步单词检测,然后检测地址,匹配数据长度,计算和检查CRC,并最终提交操作命令和数据有效负载到用于处理的上层,从而完成1个发送和接收交互。
2.3反冲突处理
主动RFID系统实施的重点是实施反碰撞算法。现在。这种类型的算法的实现方法包括空间部门多访问(SDMA),频部多访问(FDMA),代码分区多访问(CDMA),时间划分多重访问(TD-MA)等。此设计采用运营商ETSI 302 208标准中的传感(CSMA)方法。 CSMA是一种分布式中型访问控制协议。在读者和作家的覆盖范围内,每个主动电子标签都可以独立地确定数据帧的传输和接受。
在发送数据帧之前,每个主动电子标签必须首先执行载波监视。只有当介质是空闲时,才允许发送帧。与FDMA和TDMA相比,可以更好地使用资源。因为这种通信方法始终在发送数据之前检测到空气中是否有相同频率的载体。如果有相同频率的载体,则不会发送数据;如果空气中有相同频率的载体,则意味着当前的空间资源没有占用,可以发送数据。这不仅提高了空间资源利用率的效率,而且还提高了通信的可靠性。
通过使用CC2510在传输前支持自动通道访问(CCA)的功能,可以实现CSMA。电子标签初始化完成后,该程序将进入主循环程序。电子标签启动载体监视。当CCA不是1时,这意味着空气中没有相同的载体数据,并且发送相应的数据。每个电子标签都使用竞争方法。 CSMA传输流程图如图3所示。

2.4重新启动机制
重新开始机制主要采用ACK(确认)方法,即发送者为发送的每个数据包设置一个缓存和相应的重传定时器。如果在计时器到期之前收到此数据包的目标节点的ACK控制数据包。 ,该数据包被认为已成功传输。目前,数据包的缓存和计时被取消,否则,数据包将令人讨厌,计时器将被重置。对于每个数据包,接收器需要反馈ACK。
重新启动机制主要由以下功能功能实现。 init()函数用于设备初始化,设置DMA,时钟等。 send()函数用于发送数据包; AckTimeoljt()函数用于在指定时间内无需接收ACK来重新发送数据包; Waitforack()函数过去等待ACK被接受。在指定的时间内,收到的ACK被标记为T,否则将其标记为F; AekReceived()函数用于接收ACK和取消重传;接收()函数用于以指定格式接收数据包; Datacheck()函数用于检测数据的完整性和可靠性; Sendack()函数用于将ACK反馈发送给发送者。重新传播机制程序的流程图如图4所示。
3个测试结果
在实际环境中开yun体育官网入口登录app,执行了Active RFID系统和活动电子标签的读者和作者的读取器/写作测试。调制方法是MSK,数据传输速率为60 kb/s,滤波器带宽为540 kHz。对于20O B收发器操作,将10个主动电子标签放置在不同的距离上。读者的阅读结果如表1和表2所示。

从以上数据,我们可以看到:
(1)在25 m的视觉距离内,系统识别效果很好;
(2)在添加可靠的通信机制(在视觉通信距离的60 m之内)后,标签与读者和作者之间的协议识别是好的;随着通信距离的增加。在70 m时,CRC验证错误发生在标签与读者和作者之间的正常通信信号中,但仍然可以识别大多数标签。
(3)遇到障碍时,通信距离迅速降低,数据包损耗率和CRC验证误差会增加。
4结论
与被动RFID技术相比,Active RFID技术具有非常明显的技术优势,沟通距离很长,数据传输量和低传输功率。在活动RFID系统中可靠的数据传输是最重要的部分。本文提出了一种解决活动RFID系统的可靠传输的解决方案,并更好地解决了此问题。
将来,主动RFID技术不仅将在各种行业中广泛采用,而且还将与普通的计算机技术(例如传感器网络(WSN))相结合,这将对信息社会产生深远的影响。